Katlanabilir ekranlı cihazlar uzun senelerdir teknoloji camiasının gündeminde. Daha çok mobil sektörde görmeye ve duymaya alışık olduğumuz teknoloji dizüstü bilgisayarlarda daha sık karşımıza çıkmaya başlayacak gibi görünüyor.
Geçtiğimiz sene CES 2017 konferansında Razer'ın tanıttığı Project Valerie katlanabilir ekranlarıyla büyük ilgi çekmişti. Hatta prototip model bir hırsızlık vakasına da karışmıştı. Gelen yeni haberlere göre katlanabilir ekranlı dizüstü bilgisayar çalışmalarını sadece Razer yürütmüyor.
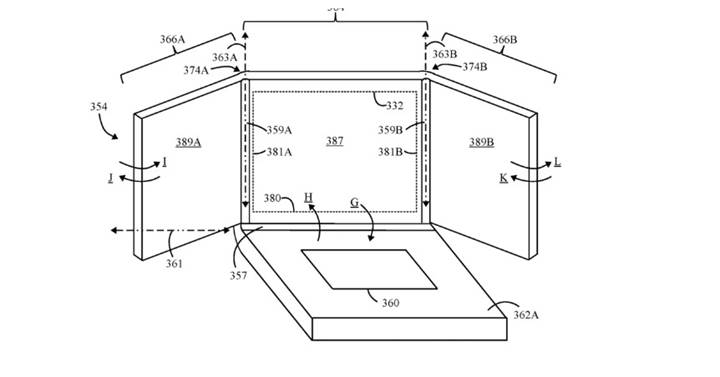
Lenovo'nun 2016 yılında yaptığı bir patent başvurusu ile katlanabilir ekranlı bir dizüstü bilgisayar üzerinde çalıştığını görebiliyoruz. Ana ekranın yanlarına yerleştirilen ekstra 2 ekran hem çalışma kolaylığı hem de görsel zenginlik sağlıyor. OLED panelden imal edilmiş ekranlar esnek bir yapıya sahip ve katlanarak ana ekranın üzerine kapanabiliyor.
Hem profesyoneller hem de oyuncular için önemli bir gelişme olan katlanabilir ekranlı bilgisayarların 2018 ve 2019 yılları boyunca piyasada önemli bir yer alacağını tahmin etmek pek de zor değil.
Geçtiğimiz sene CES 2017 konferansında Razer'ın tanıttığı Project Valerie katlanabilir ekranlarıyla büyük ilgi çekmişti. Hatta prototip model bir hırsızlık vakasına da karışmıştı. Gelen yeni haberlere göre katlanabilir ekranlı dizüstü bilgisayar çalışmalarını sadece Razer yürütmüyor.
Lenovo'nun 2016 yılında yaptığı bir patent başvurusu ile katlanabilir ekranlı bir dizüstü bilgisayar üzerinde çalıştığını görebiliyoruz. Ana ekranın yanlarına yerleştirilen ekstra 2 ekran hem çalışma kolaylığı hem de görsel zenginlik sağlıyor. OLED panelden imal edilmiş ekranlar esnek bir yapıya sahip ve katlanarak ana ekranın üzerine kapanabiliyor.
Hem profesyoneller hem de oyuncular için önemli bir gelişme olan katlanabilir ekranlı bilgisayarların 2018 ve 2019 yılları boyunca piyasada önemli bir yer alacağını tahmin etmek pek de zor değil.


Yorum Bırakın